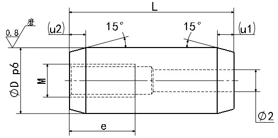
圆柱销正公差直杆型一端螺纹(通孔)
· 请按照选型步骤①-③选择型式和参数后进行订购。
订货举例:型式(①Type.②D)-③L
AVTUHR6-L15
|
Type |
材质 |
硬度 |
|
AVTCHR |
SUS440C |
53HRC~ |
·
|
u1 |
M |
u2 |
e |
型式 |
Dp6 |
L |
||
|
型号 |
D |
|||||||
|
2 |
4X0.7 |
0.3 |
8 |
AVTCHR |
6 |
+0.020 |
15 20 25 30 35 |
|
|
5X0.8 |
0.5 |
8 |
+0.024 |
15 20 25 30 35 |
|
|||
|
2.5 |
6X1.0 |
10 |
10 |
20 25 30 35 40 |
|
|||
|
1 |
12 |
+0.029 |
20 25 30 35 40 45 |
|
||||
·







